Taber耐磨試驗機用于GB/T4085-2015的測試方法
GB/T4085-2015 于2016-08-01日開始實施,是關于《半硬質聚氯乙烯塊狀地板》的測試方法,本標準規定了半硬質聚氯乙烯塊狀地板(以下簡稱地板)的術語和定義、分類、等級和標記、要求、試驗方法、檢驗規則、標志、運輸和貯存。Taber耐磨試驗機可用于其中的耐磨性能測試。
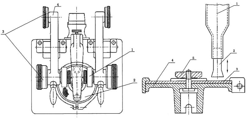
落砂耐磨儀由以下部件構成(見圖):

1.水平旋轉試驗臺:直徑大于105mm,上表面水平,能夠放置試件。試驗臺能夠繞中心軸旋轉,轉速為60±2rpm。
2.兩個包裹皮革片的圓柱形磨輪:磨輪由金屬或者硬塑料制成,直徑為42mm,寬度為12.7mm,能夠繞固定軸自由旋轉。磨輪上包裹的皮革片寬約13 mm,厚為4 mm~5 mm。將一個直徑為10 mm的鋼球放置在皮革上,加載(10±0.1)N的負荷,在30 s后皮革片應具有0.3 mm~0.5 mm的殘余凹陷。包裹皮革片的磨輪在第一次使用前需用240目的砂紙進行500轉打磨。
兩個磨輪能夠在試件表面形成圓環形軌跡,面積約為3000mm2,當包裹皮革片的磨輪直徑小于44.4 mm時,應更換磨輪。
3.旋轉計數器:在達到設定旋轉圈數后,能夠使旋轉平臺自動停止旋轉。
4.容器:上端開口,能容納至少200 g磨料。容器底部帶有高度可調節的落砂管,落砂管底部距離試件表面(10±3)mm,并能迅速關閉。
5. 吸塵器:能夠吸除磨料和被磨下的顆粒。
測試儀器

Taber 5135磨耗試驗機


粵公網安備 44060402000050號